
WSSP-384固定法蘭萬向一體化雙金屬溫度計簡介
雙金屬溫帶熱電偶、熱電阻一體化溫度計和雙金屬帶熱電偶、熱電阻一體化溫度變送器是現場就地顯示和遠傳電信號的溫度傳感器,它可以就地指示溫度,也可以同時把信號遠傳至控制儀表,以實現遠程調節和控制,上海自動化儀表三廠生產的WSSP-384固定法蘭萬向一體化雙金屬溫度計,作為新一代的溫度傳感器,它可以直接測量工業生產過程中-60℃~500℃范圍內的液體、氣體和蒸汽等介質的溫度,被廣泛用于冶金、石化、電力、輕紡、食品國防等工業部門。
WSSP-384固定法蘭萬向一體化雙金屬溫度計主要技術參數
◆測量范圍:-60~500℃
◆精度等級: 1.5級(可以做成1.0級)
◆與熱電阻配套:分度號P100,精度A級或B級(接線盒內可加配溫度變送器)
◆與熱電偶配套:分度號E或分度號K,精度I級或II級(接線盒內可加配溫度變送器)
◆標度盤公稱直徑:60mm
◆插入深度:L=75~1900mm
◆保護管直徑:d=Φ6,Φ8,Φ10(尾管長度75~1200mm)
◆保護管材質:不銹鋼304,321
◆安裝螺紋:M16*1.5其它請注明
◆響應時間:≤60S
◆使用環境溫度:室內-25~55℃;室外-25~80℃
◆相對濕度:5~95%
◆防護等級:IP65
◆執行標準 JB/T8803-1998 GB3836-83
一體化雙金屬溫度計工作原理
雙金屬溫度計是利用兩種不同金屬的膨脹系數不同的原理而工作的。將雙金屬片繞制成螺旋管狀的一端被固定,另一自由端與指針連接,隨著溫度的變化而轉動,并帶動指針在表盤上顯示對應的溫度。
一體化雙金屬溫度計使用選型

選型舉例:
WSSP-311 表示表盤直徑Φ60mm的可動外螺紋連接,徑向型一體化雙金屬溫度計
WSSP-413表示表盤直徑Φ100mm的固定外螺紋連接,徑向型一體化雙金屬溫度計
WSSP-381表示表盤直徑Φ60mm的可動外螺紋連接,萬向型一體化雙金屬溫度計
WSSP-384示表盤直徑Φ60mm的固定法蘭連接,萬向型一體化雙金屬溫度計
一體化雙金屬溫度計安裝圖片
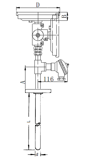
◆WSSP-384固定法蘭萬向一體化雙金屬溫度計
D=70mm A=100mm B=22mm
L=75-1900mm d=10mm或根據需要
固定法蘭外徑115mm中心距85mm



客服1