
WRN-13B高壓焊接式錐形套管熱電偶簡介
套管式熱電偶、熱電阻作為溫度測量儀表可與顯示儀表配套實現溫度的顯示和控制,上海自動化儀表三廠生產的WRN-13B高壓焊接式錐形套管熱電偶可以直接測量和控制生產過程中0-800℃范圍的氣體,液體和蒸汽的溫度,不僅可用于發電廠管道的溫度測量,同時也可用于其它工業部門生產過程中的溫度測量。
WRN-13B高壓焊接式錐形套管熱電偶主要技術參數
◆測量范圍:0-600-800℃
◆分度號:K分度
◆精度等級:Ⅰ級(±1.5℃或±0.004|t|)Ⅱ級(±2.5℃或±0.0075|t|)
◆熱電偶類別:鎳鉻-鎳硅,可以為雙支
◆保護管材質:不銹鋼304,321,316,316L、2520等
◆保護管插深:50mm,100mm,150mm,200mm等
◆熱響應時間:T0.5<120S(在溫度出現階躍變化時,熱電偶的輸出變化至相當于該變化的50%,所需要的時間稱為熱響應時間,用T0.5表示)。
◆熱電偶公稱壓力:≤30MPa(一般是指在室溫情況下保護管所能承受的靜態外壓而不破裂。實際上容許工作壓力不僅與保護管材料、直徑壁厚有關,還與其結構形式,安裝方法,置入深度以及被測介質的流速和種類等有關)。
◆熱電偶流速:≤100m/s
◆熱電偶絕緣電阻(常溫):常溫絕緣電阻的試驗電壓為直流500V±50V,大氣條件為溫度15~35℃,相對濕度45%,大氣壓力86~106kPa,它的常溫絕緣值應≥100MΩ。
◆執行標準:JB/T9238-1999
熱電偶工作原理
當有兩種不同的導體,其兩端相互焊接時,兩結點處的溫度不同,一端溫度為測量端或工作端,另一端溫度為自由端或冷端,當兩端溫度存在溫差時,就會在回路時產生熱電流,配上顯示儀表,儀表上就能顯示出熱電偶所產生的熱電動勢的對應溫度值。熱電偶的熱電動勢將隨著測量端或工作端的溫度升高而增長,熱電偶的熱電動勢的大小只和導體材質及兩端溫差有關,和導體的長度、直徑無關。
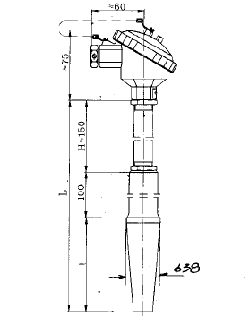
熱電偶安裝圖片
◆WRN-13B高壓焊接式錐形套管熱電偶
l=50-200mm 焊接式錐形套管
錐形套管上端直徑38mm下端22mm



客服1