
WRN-330-F活動法蘭燒結四氟耐腐熱電偶簡介
在某些特殊場合,如化工廠、冶煉廠、火電廠、制藥廠等,必須用特殊材料和結構的熱電偶、熱電阻,上海自動化儀表三廠自90年代以來已開發和生產了各種規格型號的耐腐型熱電偶熱電阻供客戶使用,得到了廣大客戶的認可,本系列產品包括耐腐型涂層熱電偶熱電阻和燒結四氟型熱電偶熱電阻,本廠生產的WRN-330-F活動法蘭燒結四氟耐腐熱電偶被廣泛用于化工廠、制藥廠等工作場所。
WRN-330-F活動法蘭燒結四氟耐腐熱電偶主要技術參數
◆測量范圍:0-250℃
◆分度號:K分度
◆精度等級:Ⅰ級(±1.5℃或±0.004|t|)Ⅱ級(±2.5℃或±0.0075|t|)
◆熱電偶類別:鎳鉻-鎳硅
◆保護管材質:不銹鋼304,321等
◆保護管插深:L=150mm~1200mm等
◆熱響應時間:T0.5<100S(在溫度出現階躍變化時,熱電偶的輸出變化至相當于該變化的50%所需要的時間稱為熱響應時間,用T0.5表示)。
◆熱電偶公稱壓力:常壓(一般是指在室溫情況下保護管所能承受的靜態外壓而不破裂。實際上容許工作壓力不僅與保護管材料、直徑壁厚有關,還與其結構形式,安裝方法,置入深度以及被測介質的流速和種類等有關)。
◆熱電偶絕緣電阻(常溫):常溫絕緣電阻的試驗電壓為直流500V,大氣條件為溫度15~35℃,相對濕度45%,大氣壓力86~106kPa,它的常溫絕緣值應≥100MΩ。
◆執行標準:JB/T9238-1999和GB/T18404-2001
耐腐熱電偶工作原理
當有兩種不同的導體,其兩端相互焊接時,兩結點處的溫度不同,一端溫度為測量端或工作端,另一端溫度為自由端或冷端,當兩端溫度存在溫差時,就會在回路時產生熱電流,配上顯示儀表,儀表上就能顯示出熱電偶所產生的熱電動勢的對應溫度值。熱電偶的熱電動勢將隨著測量端或工作端的溫度升高而增長,熱電偶的熱電動勢的大小只和導體材質及兩端溫差有關,和導體的長度、直徑無關。
耐腐熱電偶型號舉例
WRN-130-F表示K分度防水接線盒無固定裝置保護管Φ16mm的燒結四氟耐腐熱電偶,可為雙支
WRN-230-F表示K分度防水接線盒固定螺紋連接保護管Φ16mm的燒結四氟耐腐熱電偶,可為雙支
WRN-330-F表示K分度防水接線盒活動法蘭連接保護管Φ16mm的燒結四氟耐腐熱電偶,可為雙支
WRN-430-F表示K分度防水接線盒固定法蘭連接保護管Φ16mm的燒結四氟耐腐熱電偶,可為雙支
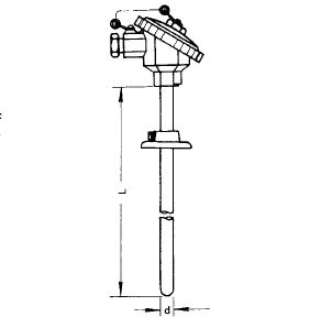
耐腐熱電偶安裝圖片
◆WRN-330-F活動法蘭燒結四氟耐腐熱電偶
L=150-1200mm d=16+2mm
活動法蘭外徑70mm中心距54mm



客服1